- Home
- Producten
- Brandwerende kleppen
- CU2
- Installatie
CU2 - Installatie
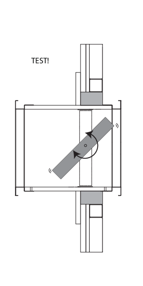
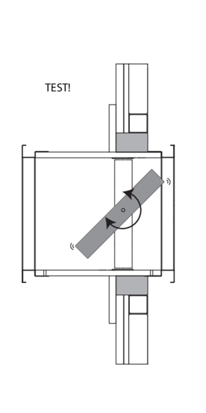
Plaatsing op minimale afstanden van een andere brandklep of van een aanpalende wand/vloer

Principe
Volgens de Europese testnorm EN 1366-2 bedraagt de minimaal vereiste afstand tussen 2 brandkleppen 200 mm en tussen een brandklep en een andere (draag)constructie 75 mm. Enkel als de klep op een kortere afstand van andere elementen werd getest, dan mag ze ook zo geplaatst worden. Deze brandklep van Rf-Technologies werd met succes getest en mag geïnstalleerd worden op een kortere afstand dan het door de norm vastgelegde minimum, zowel in verticale wand als in vloer/plafond.
Voor rechthoekige brandkleppen bedraagt de minimale afstand 50 mm tussen 2 kleppen of tussen klep en verticale wand en 25 mm tussen klep en vloerplaat.
Volgens de Europese testnorm EN 1366-2 bedraagt de minimaal vereiste afstand tussen 2 brandkleppen 200 mm en tussen een brandklep en een andere (draag)constructie 75 mm. Enkel als de klep op een kortere afstand van andere elementen werd getest, dan mag ze ook zo geplaatst worden. Deze brandklep van Rf-Technologies werd met succes getest en mag geïnstalleerd worden op een kortere afstand dan het door de norm vastgelegde minimum, zowel in verticale wand als in vloer/plafond.
Voor rechthoekige brandkleppen bedraagt de minimale afstand 50 mm tussen 2 kleppen of tussen klep en verticale wand en 25 mm tussen klep en vloerplaat.

Gecertificeerde oplossing
De gecertificeerde oplossing voor de Rf-t kleppen bestaat uit volgende elementen: A: Universele afdichting voor minimale afstanden; B: Afdichting volgens de reeds bestaande classificaties (zie Prestatieverklaring).
A. Afdichting van de opening aan de zijde met minimale afstanden t.o.v. een constructiedeel of een andere brandklep: harde steenwolplaten (150 kg/m³) over een diepte van min. 400 mm, waarvan 150 mm aan de mechanismezijde van de wand. Aan de niet-mechanismezijde van de wand moeten de steenwolplaten minstens gelijk met de wand uitkomen.
Deze afdichting wordt toegepast langs de hele breedte/hoogte van de klep.
Bij een afstand tussen klep en vloer/plafond van 25 mm mag de harde steenwolplaat (A) vervangen worden door standaard steenwol 40 kg/m³, minstens 40% samengedrukt.
B. De overige afdichtingen kunnen worden uitgevoerd volgens de bestaande oplossingen (prestatieverklaring).
Gedetailleerde informatie voor elke combinatie wand/afdichting vindt u bij de betreffende installatiemethodes.
De gecertificeerde oplossing voor de Rf-t kleppen bestaat uit volgende elementen: A: Universele afdichting voor minimale afstanden; B: Afdichting volgens de reeds bestaande classificaties (zie Prestatieverklaring).
A. Afdichting van de opening aan de zijde met minimale afstanden t.o.v. een constructiedeel of een andere brandklep: harde steenwolplaten (150 kg/m³) over een diepte van min. 400 mm, waarvan 150 mm aan de mechanismezijde van de wand. Aan de niet-mechanismezijde van de wand moeten de steenwolplaten minstens gelijk met de wand uitkomen.
Deze afdichting wordt toegepast langs de hele breedte/hoogte van de klep.
Bij een afstand tussen klep en vloer/plafond van 25 mm mag de harde steenwolplaat (A) vervangen worden door standaard steenwol 40 kg/m³, minstens 40% samengedrukt.
B. De overige afdichtingen kunnen worden uitgevoerd volgens de bestaande oplossingen (prestatieverklaring).
Gedetailleerde informatie voor elke combinatie wand/afdichting vindt u bij de betreffende installatiemethodes.

Beperkingen
De asrichting van het klepblad is vrij te kiezen: plaatsing met as horizontaal of verticaal.
Het maximum aantal rechthoekige kleppen dat naast elkaar op een minimale afstand mag geïnstalleerd worden, is beperkt tot 2 kleppen, zowel horizontaal als verticaal (met een cluster van maximaal 4 kleppen).
Opmerking: bij het afdichten met brandwerende steenwolplaten is het maximale aantal kleppen ook afhankelijk van de maximale oppervlakte toegestaan voor het geselecteerde afdichtingsmateriaal. Voor deze informatie verwijzen wij u naar de instructies van de fabrikant.
De asrichting van het klepblad is vrij te kiezen: plaatsing met as horizontaal of verticaal.
Het maximum aantal rechthoekige kleppen dat naast elkaar op een minimale afstand mag geïnstalleerd worden, is beperkt tot 2 kleppen, zowel horizontaal als verticaal (met een cluster van maximaal 4 kleppen).
Opmerking: bij het afdichten met brandwerende steenwolplaten is het maximale aantal kleppen ook afhankelijk van de maximale oppervlakte toegestaan voor het geselecteerde afdichtingsmateriaal. Voor deze informatie verwijzen wij u naar de instructies van de fabrikant.
Plaatsing in massieve wand en vloer
Het product werd getest en goedgekeurd in:
- Cellenbeton ≥ 100 mm | EI 120 (ve i o) S - (500 Pa) | Gips | Installatiemethode: ingebouwd 0/180°. Minimum afstand toegestaan. | 200x200 mm ≤ CU2 ≤ 1500x1000 mm
- Cellenbeton ≥ 100 mm | EI 90 (ve i o) S - (300 Pa) | Mortel | Installatiemethode: ingebouwd 0/180°. Minimum afstand toegestaan. | 200x200 mm ≤ CU2 ≤ 1500x1000 mm
- Cellenbeton ≥ 150 mm | EI 120 (ho i o) S - (500 Pa) | Mortel | Installatiemethode: ingebouwd 0°/90°/180°/270°. Minimum afstand toegestaan. | 200x200 mm ≤ CU2 ≤ 1500x1000 mm
- Cellenbeton ≥ 100 mm | EI 120 (ve i o) S - (500 Pa) | Mortel | Installatiemethode: ingebouwd 0°/90°/180°/270°. Minimum afstand toegestaan. | 200x200 mm ≤ CU2 ≤ 1200x800 mm
- Cellenbeton ≥ 100 mm | EI 90 (ve i o) S - (500 Pa) | Gips | Installatiemethode: ingebouwd 0°/90°/180°/270°. Minimum afstand toegestaan. | 200x200 mm ≤ CU2 ≤ 1200x800 mm
- Cellenbeton ≥ 100 mm | EI 60 (ve i o) S - (500 Pa) | Mortel / Gips | Installatiemethode: ingebouwd 0°/90°/180°/270°. Minimum afstand toegestaan. | 1200x800 mm < CU2 ≤ 1500x1000 mm
- Cellenbeton ≥ 100 mm | E 120 (ve i o) S - (500 Pa) | Mortel / Gips | Installatiemethode: ingebouwd 0°/90°/180°/270°. Minimum afstand toegestaan. | 1200x800 mm < CU2 ≤ 1500x1000 mm
- Cellenbeton ≥ 100 mm | EI 90 (ve i o) S - (300 Pa) | Mortel | Installatiemethode: ingebouwd 0°/90°/180°/270°. Minimum afstand toegestaan. | 1200x800 mm < CU2 ≤ 1500x800 mm
- Cellenbeton ≥ 125 mm | EI 120 (ho i o) S - (300 Pa) | Mortel | Installatiemethode: ingebouwd 0°/90°/180°/270°. Minimum afstand toegestaan. | 200x200 mm ≤ CU2 ≤ 1500x800 mm

De brandkleppen mogen geïnstalleerd worden op een kortere afstand van een vloer/plafond (≥ 25 mm), van een wand of van een andere klep (≥ 50 mm).

Installeer de brandkleppen in de opening.
Dicht de opening aan de zijde met minimale afstanden af met harde steenwolplaten (≥ 150 kg/m³) over een diepte van 400 mm (150 mm aan de mechanismezijde van de wand).
Deze afdichting wordt toegepast langs de hele breedte/hoogte van de klep.
Bij een afstand tussen klep en vloer/plafond van 25 mm mag de harde steenwolplaat vervangen worden door standaard steenwol ≥ 40 kg/m³ (bv. Rockfit 431), minstens 40% samengedrukt.
Dicht de opening aan de zijde met minimale afstanden af met harde steenwolplaten (≥ 150 kg/m³) over een diepte van 400 mm (150 mm aan de mechanismezijde van de wand).
Deze afdichting wordt toegepast langs de hele breedte/hoogte van de klep.
Bij een afstand tussen klep en vloer/plafond van 25 mm mag de harde steenwolplaat vervangen worden door standaard steenwol ≥ 40 kg/m³ (bv. Rockfit 431), minstens 40% samengedrukt.
Plaatsing in flexibele wand (metal stud en gipskartonplaten)
Het product werd getest en goedgekeurd in:
- Metal stud gipsplatenwand Type A (EN 520) ≥ 100 mm | EI 60 (ve i o) S - (500 Pa) | Steenwol ≥ 40 kg/m³ + afdekplaten | Installatiemethode: ingebouwd 0/180°. Minimum afstand toegestaan. | 200x200 mm ≤ CU2 ≤ 1200x800 mm
- Metal stud gipsplatenwand Type F (EN 520) ≥ 100 mm | EI 90 (ve i o) S - (500 Pa) | Steenwol ≥ 40 kg/m³ + afdekplaten | Installatiemethode: ingebouwd 0/180°. Minimum afstand toegestaan. | 200x200 mm ≤ CU2 ≤ 1200x800 mm
- Metal stud gipsplatenwand Type F (EN 520) ≥ 100 mm | EI 90 (ve i o) S - (300 Pa) | Steenwol ≥ 40 kg/m³ + afdekplaten | Installatiemethode: ingebouwd 0/180°. Minimum afstand toegestaan. | 1200x800 mm < CU2 ≤ 1500x800 mm
- Metal stud gipsplatenwand Type F (EN 520) ≥ 100 mm | E 120 (ve i o) S - (300 Pa) | Steenwol ≥ 40 kg/m³ + afdekplaten | Installatiemethode: ingebouwd 0/180°. Minimum afstand toegestaan. | 1200x800 mm < CU2 ≤ 1500x800 mm

De brandkleppen mogen geïnstalleerd worden op een kortere afstand van een vloer/plafond (≥ 25 mm), van een wand of van een andere klep (≥ 50 mm).

Installeer de brandkleppen in de opening.
Dicht de opening aan de zijde met minimale afstanden af met harde steenwolplaten (≥ 150 kg/m³) over een diepte van 400 mm (150 mm aan de mechanismezijde van de wand).
Deze afdichting wordt toegepast langs de hele breedte/hoogte van de klep.
Bij een afstand tussen klep en vloer/plafond van 25 mm mag de harde steenwolplaat vervangen worden door standaard steenwol ≥ 40 kg/m³ (bv. Rockfit 431), minstens 40% samengedrukt.
Dicht de opening aan de zijde met minimale afstanden af met harde steenwolplaten (≥ 150 kg/m³) over een diepte van 400 mm (150 mm aan de mechanismezijde van de wand).
Deze afdichting wordt toegepast langs de hele breedte/hoogte van de klep.
Bij een afstand tussen klep en vloer/plafond van 25 mm mag de harde steenwolplaat vervangen worden door standaard steenwol ≥ 40 kg/m³ (bv. Rockfit 431), minstens 40% samengedrukt.
Plaatsing in flexibele wand (metal stud en gipskartonplaten), afdichting met gips
Het product werd getest en goedgekeurd in:
- Metal stud gipsplatenwand Type A (EN 520) ≥ 100 mm | EI 60 (ve i o) S - (500 Pa) | Gips | Installatiemethode: ingebouwd 0/180°. Minimum afstand toegestaan. | 200x200 mm ≤ CU2 ≤ 1500x1000 mm
- Metal stud gipsplatenwand Type F (EN 520) ≥ 100 mm | EI 120 (ve i o) S - (500 Pa) | Gips | Installatiemethode: ingebouwd 0/180°. Minimum afstand toegestaan. | 200x200 mm ≤ CU2 ≤ 1500x1000 mm

De brandkleppen mogen geïnstalleerd worden op een kortere afstand van een vloer/plafond (≥ 25 mm), van een wand of van een andere klep (≥ 50 mm).

Installeer de brandkleppen in de opening.
Dicht de opening aan de zijde met minimale afstanden af met harde steenwolplaten (≥ 150 kg/m³) over een diepte van 400 mm (150 mm aan de mechanismezijde van de wand).
Deze afdichting wordt toegepast langs de hele breedte/hoogte van de klep.
Bij een afstand tussen klep en vloer/plafond van 25 mm mag de harde steenwolplaat vervangen worden door standaard steenwol ≥ 40 kg/m³ (bv. Rockfit 431), minstens 40% samengedrukt.
Dicht de opening aan de zijde met minimale afstanden af met harde steenwolplaten (≥ 150 kg/m³) over een diepte van 400 mm (150 mm aan de mechanismezijde van de wand).
Deze afdichting wordt toegepast langs de hele breedte/hoogte van de klep.
Bij een afstand tussen klep en vloer/plafond van 25 mm mag de harde steenwolplaat vervangen worden door standaard steenwol ≥ 40 kg/m³ (bv. Rockfit 431), minstens 40% samengedrukt.
Plaatsing in flexibele wand (metal stud en gipskartonplaten), afdichting met mortel
Het product werd getest en goedgekeurd in:
- Metal stud gipsplatenwand Type A (EN 520) ≥ 100 mm | EI 60 (ve i o) S - (300 Pa) | Mortel | Installatiemethode: ingebouwd 0/180°. Minimum afstand toegestaan. | 200x200 mm ≤ CU2 ≤ 1500x1000 mm
- Metal stud gipsplatenwand Type F (EN 520) ≥ 100 mm | EI 90 (ve i o) S - (300 Pa) | Mortel | Installatiemethode: ingebouwd 0/180°. Minimum afstand toegestaan. | 200x200 mm ≤ CU2 ≤ 1500x1000 mm

De brandkleppen mogen geïnstalleerd worden op een kortere afstand van een vloer/plafond (≥ 25 mm), van een wand of van een andere klep (≥ 50 mm).

Installeer de brandkleppen in de opening.
Dicht de opening aan de zijde met minimale afstanden af met harde steenwolplaten (≥ 150 kg/m³) over een diepte van 400 mm (150 mm aan de mechanismezijde van de wand).
Deze afdichting wordt toegepast langs de hele breedte/hoogte van de klep.
Bij een afstand tussen klep en vloer/plafond van 25 mm mag de harde steenwolplaat vervangen worden door standaard steenwol ≥ 40 kg/m³ (bv. Rockfit 431), minstens 40% samengedrukt.
Dicht de opening aan de zijde met minimale afstanden af met harde steenwolplaten (≥ 150 kg/m³) over een diepte van 400 mm (150 mm aan de mechanismezijde van de wand).
Deze afdichting wordt toegepast langs de hele breedte/hoogte van de klep.
Bij een afstand tussen klep en vloer/plafond van 25 mm mag de harde steenwolplaat vervangen worden door standaard steenwol ≥ 40 kg/m³ (bv. Rockfit 431), minstens 40% samengedrukt.
Plaatsing in gipsblokkenwand
Het product werd getest en goedgekeurd in:
- Gipsblokken ≥ 100 mm | EI 120 (ve i o) S - (500 Pa) | Blokkenlijm | Installatiemethode: ingebouwd 0/180°. Minimum afstand toegestaan. | 200x200 mm ≤ CU2 ≤ 1500x1000 mm
- Gipsblokken ≥ 70 mm | EI 120 (ve i o) S - (500 Pa) | Blokkenlijm | Installatiemethode: ingebouwd 0/180°. Minimum afstand toegestaan. | 200x200 mm ≤ CU2 ≤ 1200x800 mm

De brandkleppen mogen geïnstalleerd worden op een kortere afstand van een vloer/plafond (≥ 25 mm), van een wand of van een andere klep (≥ 50 mm).

Installeer de brandkleppen in de opening.
Dicht de opening aan de zijde met minimale afstanden af met harde steenwolplaten (≥ 150 kg/m³) over een diepte van 400 mm (150 mm aan de mechanismezijde van de wand).
Deze afdichting wordt toegepast langs de hele breedte/hoogte van de klep.
Bij een afstand tussen klep en vloer/plafond van 25 mm mag de harde steenwolplaat vervangen worden door standaard steenwol ≥ 40 kg/m³ (bv. Rockfit 431), minstens 40% samengedrukt.
Dicht de opening aan de zijde met minimale afstanden af met harde steenwolplaten (≥ 150 kg/m³) over een diepte van 400 mm (150 mm aan de mechanismezijde van de wand).
Deze afdichting wordt toegepast langs de hele breedte/hoogte van de klep.
Bij een afstand tussen klep en vloer/plafond van 25 mm mag de harde steenwolplaat vervangen worden door standaard steenwol ≥ 40 kg/m³ (bv. Rockfit 431), minstens 40% samengedrukt.
Plaatsing in flexibele en massieve wand, afdichting met harde steenwolplaten met coating
Het product werd getest en goedgekeurd in:
- Cellenbeton ≥ 100 mm | EI 90 (ve i o) S - (300 Pa) | Gecoate steenwol + coating ≥ 140 kg/m³ | Installatiemethode: ingebouwd 0°/90°/180°/270°. Minimum afstand toegestaan. | 200x200 mm ≤ CU2 ≤ 1200x800 mm
- Metal stud gipsplatenwand Type A (EN 520) ≥ 100 mm | EI 60 (ve i o) S - (300 Pa) | Gecoate steenwol + coating ≥ 140 kg/m³ | Installatiemethode: ingebouwd 0°/90°/180°/270°. Minimum afstand toegestaan. | 200x200 mm ≤ CU2 ≤ 1200x800 mm
- Metal stud gipsplatenwand Type F (EN 520) ≥ 100 mm | EI 90 (ve i o) S - (300 Pa) | Gecoate steenwol + coating ≥ 140 kg/m³ | Installatiemethode: ingebouwd 0°/90°/180°/270°. Minimum afstand toegestaan. | 200x200 mm ≤ CU2 ≤ 1200x800 mm

De opening rond de klep wordt afgedicht met 2 harde steenwolplaten van 50 mm die eenzijdig voorzien zijn van 1 mm brandwerende coating (type PROMASTOP-CB 50 / PROMASTOP-CB/CC 50 / HILTI CFS-CT B / Mulcol Multimastic FB1 / PYRO-SAFE® FLAMMOTECT-A).

Deze platen moeten geschrankt geplaatst worden en de voegen moeten rondom rond bedekt worden met vulpasta (type PROMASTOP-CC / HILTI CFS-S-ACR / Mulcol Multimastic SP / PYRO-SAFE® FLAMMOTECT-A).

De brandklep moet niet centraal in de opening (met maximale afmetingen brandklep + 600 mm) geplaatst worden. De afstand tussen de brandklep en de rand van de opening is maximaal 400 mm.

De brandkleppen mogen geïnstalleerd worden op een kortere afstand van een vloer/plafond (≥ 25 mm), van een wand of van een andere klep (≥ 50 mm).

Installeer de brandkleppen in de opening.
Dicht de opening aan de zijde met minimale afstanden af met harde steenwolplaten (≥ 150 kg/m³) over een diepte van 400 mm (150 mm aan de mechanismezijde van de wand).
Deze afdichting wordt toegepast langs de hele breedte/hoogte van de klep.
Bij een afstand tussen klep en vloer/plafond van 25 mm mag de harde steenwolplaat vervangen worden door standaard steenwol ≥ 40 kg/m³ (bv. Rockfit 431), minstens 40% samengedrukt.
Dicht de opening aan de zijde met minimale afstanden af met harde steenwolplaten (≥ 150 kg/m³) over een diepte van 400 mm (150 mm aan de mechanismezijde van de wand).
Deze afdichting wordt toegepast langs de hele breedte/hoogte van de klep.
Bij een afstand tussen klep en vloer/plafond van 25 mm mag de harde steenwolplaat vervangen worden door standaard steenwol ≥ 40 kg/m³ (bv. Rockfit 431), minstens 40% samengedrukt.
Plaatsing op afstand van de wand, afdichting en isolatie met harde steenwolplaten met coating
*Voor een classificatie tot EI 60 S: gecoate steenwolplaten van het type PYRO-SAFE® FLAMMOTECT-A mogen vervangen worden door een gelijkaardig type steenwolplaat met minstens dezelfde brandreactieklasse, densiteit en dikte (getest volgens EN 1366-3).
Het product werd getest en goedgekeurd in:
- Cellenbeton ≥ 100 mm | EI 90 (ve i o) S - (300 Pa) | Gegalvaniseerd kanaal + gecoate steenwol ≥ 150 kg/m³ 2x50 mm | Installatiemethode: montage op afstand, 0/180° | 200x200 mm ≤ CU2 ≤ 1500x1000 mm
- Metal stud gipsplatenwand Type A (EN 520) ≥ 100 mm | EI 60 (ve i o) S - (300 Pa) | Gegalvaniseerd kanaal + gecoate steenwol ≥ 150 kg/m³ 2x50 mm | Installatiemethode: montage op afstand, 0/180° | 200x200 mm ≤ CU2 ≤ 1500x1000 mm
- Metal stud gipsplatenwand Type F (EN 520) ≥ 100 mm | EI 90 (ve i o) S - (300 Pa) | Gegalvaniseerd kanaal + gecoate steenwol ≥ 150 kg/m³ 2x50 mm | Installatiemethode: montage op afstand, 0/180° | 200x200 mm ≤ CU2 ≤ 1500x1000 mm

In de wand wordt een opening voorzien van maximaal (Bn+600 mm) x (Hn+600 mm) waardoor het ventilatiekanaal loopt. De opening rond het kanaal in de wand wordt afgedicht met één laag gecoate steenwolplaat type PYRO-SAFE® FLAMMOTECT-A. De randen worden afgedicht met PYRO-SAFE® FLAMMOTECT-A pasta waardoor de platen vast zitten.

Het kanaal en de brandklep worden over de volledige lengte voorzien van gecoate steenwolplaten. Om de platen te bevestigen aan het kanaal worden ze aan de zijde langs het kanaal en op de randen voorzien van brandwerende pasta en bevestigd met bouten en rondellen (C). De platen ter hoogte van de brandklep worden bijgewerkt, zodat die één vlak vormen samen met de platen op het ventilatiekanaal, daarbij wordt ruimte vrijgelaten voor het mechanisme.

De tweede laag gecoate steenwolplaat wordt geplaatst in de wand, de randen daarvan worden afgedicht met brandwerende pasta.

Op de wand langs de zijde van de klep wordt bovenaan een extra laag gecoate steenwolplaten toegevoegd die 100 mm overlapt met de muur langs de twee zijkanten en de bovenzijde. Ook de randen van deze platen worden voorzien van een laag brandwerende pasta.

Rond het kanaal en de brandklep wordt een tweede laag gecoate steenwolplaten toegevoegd, opnieuw worden de randen van de platen voorzien van een laag brandwerende pasta. De platen worden bevestigd met bouten en rondellen (C).

De ondersteuning wordt geplaatst en zowel de profielen als de draadstangen worden ingepakt met een laag gecoate steenwolplaten. Op de randen wordt brandwerende pasta aangebracht.
Plaatsing in massieve vloer, afdichting met harde steenwolplaten met coating
Het product werd getest en goedgekeurd in:
- Cellenbeton ≥ 150 mm | EI 90 (ho i o) S - (300 Pa) | Gecoate steenwol + coating ≥ 140 kg/m³ | Installatiemethode: ingebouwd 0°/90°/180°/270°. Minimum afstand toegestaan. | 200x200 mm ≤ CU2 ≤ 1200x800 mm

De opening rond de klep wordt afgedicht met 2 harde steenwolplaten van 50 mm die eenzijdig voorzien zijn van 1 mm brandwerende coating (type PROMASTOP-CB 50 / PROMASTOP-CB/CC 50 / HILTI CFS-CT B).

Deze platen moeten geschrankt geplaatst worden en de voegen moeten rondom rond bedekt worden met vulpasta (type PROMASTOP-CC / HILTI CFS-S-ACR).
Algemene opmerkingen
- De plaatsing dient steeds te gebeuren conform het installatievoorschrift en het classificatierapport.
- As oriëntatie: zie prestatieverklaring.
- Vermijd obstructie van aansluitende kanalen.
- Inbouw van het product: altijd met gesloten klepblad.
- Kijk na of het klepblad vrij kan bewegen.
- Bij montage dienen de veiligheidsafstanden t.o.v. andere constructie-elementen gerespecteerd te worden. Het bedieningsmechanisme moet ook toegankelijk zijn: voorzie een speling van 200 mm rond de behuizing.
- De klasse van luchtdichtheid blijft behouden indien de installatie van de brandklep gebeurt conform de installatievoorschriften
- Rf-t brandkleppen worden steeds getest in gestandaardiseerde draagconstructies volgens EN 1366-2. De behaalde resultaten gelden voor gelijksoortige draagconstructies met een brandweerstand, dikte en dichtheid gelijk aan of groter dan de draagconstructie van de test.
- Als de wanddikte groter is dan de minimale dikte aangegeven in onze installatievoorschriften, gelden volgende voorwaarden voor de afdichtdiepte: - Bij flexibele wanden en sandwichpaneelsysteemwanden moet de afdichting steeds over de volledige diepte van de wand aangebracht worden. - Bij massieve wanden, massieve vloeren en gipsblokkenwanden volstaat de minimale afdichtdiepte zoals aangeduid in onze installatievoorschriften (vaak gelijk aan de minimale wanddikte). Afdichting aan te brengen ter hoogte van het klepblad (vanaf de wall limit aanduiding/inbouwaanslag).
- Bij inbouw van een brandklep in een flexibele metal stud wand is het bij sommige installatiemethodes vanuit brandtechnisch oogpunt niet noodzakelijk om versterkingsprofielen rond de wandopening aan te brengen (zie verder). Hou voor opbouw van dit type wanden steeds rekening met de algemene instructies van de producent van deze wandsystemen.
- De klep moet bereikbaar zijn voor inspectie en onderhoud.
- Minstens 2 visuele controles per jaar zijn aangewezen.