- Home
- Prodotti
- Serrande tagliafuoco
- CU-LT-1S
- Installazione
CU-LT-1S - Installazione
Installazione in pareti e pavimenti rigidi nonché in parete di blocchi di gesso
Il prodotto è stato testato e approvato in::
- Calcestruzzo aerato ≥ 100 mm | EI 120 (ve i o) S - (500 Pa) | Non applicabile | Tipo di installazione: a sbalzo, 0/90/180/270° | 200x100 mm ≤ CU-LT-1s ≤ 800x600 mm
- Calcestruzzo aerato ≥ 150 mm | EI 120 (ho i o) S - (500 Pa) | Non applicabile | Tipo di installazione: a sbalzo, 0/90/180/270° | 200x100 mm ≤ CU-LT-1s ≤ 800x600 mm
- Blocchi di gesso ≥ 70 mm | EI 120 (ve i o) S - (500 Pa) | Non applicabile | Tipo di installazione: a sbalzo, 0/90/180/270° | 200x100 mm ≤ CU-LT-1s ≤ 800x600 mm
Installazione in parete leggera (pannello di cartongesso con telaio metallico)
Il prodotto è stato testato e approvato in::
- Pannello di cartongesso con telaio metallico tipo F (EN 520) ≥ 100 mm | EI 90 (ve i o) S - (500 Pa) | Non applicabile | Tipo di installazione: a sbalzo, 0/90/180/270° | 200x100 mm ≤ CU-LT-1s ≤ 800x600 mm
- Pannello di cartongesso con telaio metallico tipo A (EN 520) ≥ 100 mm | EI 60 (ve i o) S - (500 Pa) | Non applicabile | Tipo di installazione: a sbalzo, 0/90/180/270° | 200x100 mm ≤ CU-LT-1s ≤ 800x600 mm
Installazione distante dalla parete + GEOFLAM
Il prodotto è stato testato e approvato in::
- Calcestruzzo aerato ≥ 100 mm | EI 120 (ve i o) S - (500 Pa) | Canale zincato + GEOFLAM® F 45 mm + malta | Tipo di installazione: montaggio remoto, 0/180° | 200x100 mm ≤ CU-LT-1s ≤ 800x600 mm

La serranda tagliafuoco è montata distante dalla parete al termine di un canale di ventilazione in metallo. Il canale è fornito di sostegni ogni 1000 mm.
Tali sostegni sono costituiti da aste filettate tipo "C" e profilati in acciaio "D" a forma di U. Viene lasciato uno spazio libero di massimo 25 mm tra le aste filettate e le pareti verticali dell'involucro "B".
Tali sostegni sono costituiti da aste filettate tipo "C" e profilati in acciaio "D" a forma di U. Viene lasciato uno spazio libero di massimo 25 mm tra le aste filettate e le pareti verticali dell'involucro "B".

L'apertura del canale è sigillata con normale malta. Il canale è coperto con pannelli spessi 45 mm GEOFLAM F tipo "G".
I pannelli aderiscono uno all'altro con colla e gessofibra "E". Anche l'involucro della serranda è ricoperto per una lunghezza di 120 mm.
I pannelli aderiscono uno all'altro con colla e gessofibra "E". Anche l'involucro della serranda è ricoperto per una lunghezza di 120 mm.

I pannelli GEOFLAM F si estendono fino a una distanza di 15 mm dalla parete. Lo spazio libero è riempito di gessofibra.
Lo stesso riempimento viene utilizzato per sigillare la connessione tra i pannelli GEOFLAM F e l'involucro della serranda.
Lo stesso riempimento viene utilizzato per sigillare la connessione tra i pannelli GEOFLAM F e l'involucro della serranda.
Note generali
- L'installazione deve essere conforme al manuale di installazionee al rapporto di classificazione.
- Orientamento dell'asse: vedere la dichiarazione di prestazione.
- Evitare di ostruire canali adiacenti.
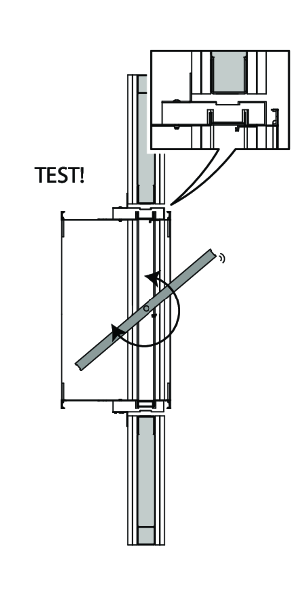
- Installazione del prodotto: sempre con pala della serranda chiusa.
- Verificare se la pala può muoversi liberamente.
- Rispettare le distanze di sicurezza da altri elementi costruttivi. Anche il meccanismo deve rimanere accessibile: lasciate 200 mm di spazio libero intorno all’ alloggiamento.
- La classe di tenuta all'aria sarà mantenuta se la serranda viene installata come descritto nel manuale di installazione.
- Le serrande tagliafuoco Rf-t sono sempre testate in costruzioni standardizzate secondo EN 1366-2. I risultati ottenuti sono validi per installazioni simili con resistenza al fuoco, spessore e densità uguali o superiori alla struttura di supporto utilizzata durante la prova.
- Se lo spessore della parete supera lo spessore minimo specificato nelle nostre istruzioni di installazione, si applicano le seguenti condizioni alla profondità della sigillatura: - Per le pareti flessibili e le pareti con sistema a pannelli sandwich, la sigillatura deve essere sempre applicata sull'intera profondità della parete. - Nel caso di pareti rigide, pavimenti rigidi e pareti in blocchi di gesso, è sufficiente la profondità minima di sigillatura indicata nelle nostre istruzioni di installazione (spesso pari allo spessore minimo della parete). Applicare la sigillatura all'altezza della pala della serranda (dall'indicazione del limite della parete).
- Quando si installa una serranda tagliafuoco in una parete metallica flessibile, alcuni metodi di installazione non richiedono profili di rinforzo intorno all'apertura della parete dal punto di vista della protezione antincendio (vedere sotto). Per la realizzazione di questo tipo di parete, attenersi sempre alle istruzioni generali del produttore di questi sistemi di pareti.
- La serranda deve assicurare un accesso per ispezione e manutenzione.
- Prevedere almeno due prove di funzionamento ogni anno.