- Home
- Prodotti
- Serrande tagliafumo
- VU120
- Installazione
VU120 - Installazione
Installazione in canali verticali e orizzontali PROMATECT L500
Il prodotto è stato testato e approvato in::
- Promatect L500 ≥ 30 mm | EI 60 (ved hod i o) S 1500 AA multi | Spazio tra il canale e la serranda (≤ 6 mm) sigillato con kit materiale refrattario (per profondità ≥ 105 mm) | Tipo di installazione: montaggio in canale/montaggio in condotto 0/90°/180°/270°. Distanze minime autorizzate. | 200x200 mm ≤ VU120+MANF/BEN + griglia ≤ 1200x800 mm; 1000x1000. 200x200 mm ≤ VU120+NF/SF + griglia ≤ 1200x650 mm; 950x750 mm
- Promatect L500 ≥ 40 mm | EI 90 (ved hod i o) S 1500 AA multi | Spazio tra il canale e la serranda (≤ 6 mm) sigillato con kit materiale refrattario (per profondità ≥ 105 mm) | Tipo di installazione: montaggio in canale/montaggio in condotto 0/90°/180°/270°. Distanze minime autorizzate. | 200x200 mm ≤ VU120+MANF/BEN + griglia ≤ 1200x800 mm; 1000x1000. 200x200 mm ≤ VU120+NF/SF + griglia ≤ 1200x650 mm; 950x750 mm
- Promatect L500 ≥ 50 mm | EI 120 (ved hod i o) S 1500 AA multi | Spazio tra il canale e la serranda (≤ 6 mm) sigillato con kit materiale refrattario (per profondità ≥ 105 mm) | Tipo di installazione: montaggio in canale/montaggio in condotto 0/90°/180°/270°. Distanze minime autorizzate. | 200x200 mm ≤ VU120+MANF/BEN + griglia ≤ 1200x800 mm; 1000x1000. 200x200 mm ≤ VU120+NF/SF + griglia ≤ 1200x650 mm; 950x750 mm

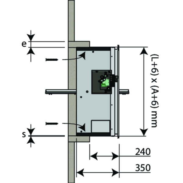
Realizzare un'apertura con dimensioni (Largh.+A) x (Alt.+A) mm. A = 2 x spessore manicotto (e) + 6 mm.
Inserire nell'apertura un manicotto dello stesso tipo e spessore del canale di ventilazione (spessore "e") con profondità di almeno 105 mm.
Fissare il manicotto alla parete del canale.
Prima rivestire l'apertura con Promacol S.
Posizionare la serranda nell'apertura e fissarla mediante 12 viti Ø5x60 (canale orizzontale) oppure 10 viti Ø5x60 (canale verticale).
Attenzione: assicurarsi che i bulloni non superino lo spessore del manicotto!
Il sigillante tra l'involucro e i canale (S) deve essere applicato con rivestimento refrattario (tipo Promacol S). Sostenere l'involucro o serrare la pala in posizione chiusa per evitare la deformazione dello stesso durante il processo di essiccazione del sigillante.
Fissare la griglia sulla flangia mediante colla di tipo Polyflex.
Controllare la mobilità della pala della serranda.
Eseguire una prova del meccanismo della serranda tagliafuoco.
Inserire nell'apertura un manicotto dello stesso tipo e spessore del canale di ventilazione (spessore "e") con profondità di almeno 105 mm.
Fissare il manicotto alla parete del canale.
Prima rivestire l'apertura con Promacol S.
Posizionare la serranda nell'apertura e fissarla mediante 12 viti Ø5x60 (canale orizzontale) oppure 10 viti Ø5x60 (canale verticale).
Attenzione: assicurarsi che i bulloni non superino lo spessore del manicotto!
Il sigillante tra l'involucro e i canale (S) deve essere applicato con rivestimento refrattario (tipo Promacol S). Sostenere l'involucro o serrare la pala in posizione chiusa per evitare la deformazione dello stesso durante il processo di essiccazione del sigillante.
Fissare la griglia sulla flangia mediante colla di tipo Polyflex.
Controllare la mobilità della pala della serranda.
Eseguire una prova del meccanismo della serranda tagliafuoco.
Installazione in canali verticali e orizzontali GEOFLAM (LIGHT)
Il prodotto è stato testato e approvato in::
- Geoflam ≥ 30 mm | EI 60 (ved hod i o) S 1500 AA multi | Spazio tra il canale e la serranda (≤ 80 mm) sigillato con kit materiale refrattario (per profondità ≥ 105 mm) | Tipo di installazione: montaggio in canale/montaggio in condotto 0/90°/180°/270°. Distanze minime autorizzate. | 200x200 mm ≤ VU120+MANF/BEN + griglia ≤ 1200x800 mm; 1000x1000. 200x200 mm ≤ VU120+NF/SF + griglia ≤ 1200x650 mm; 950x750 mm
- Geoflam ≥ 35 mm | EI 90 (ved hod i o) S 1500 AA multi | Spazio tra il canale e la serranda (≤ 80 mm) sigillato con kit materiale refrattario (per profondità ≥ 105 mm) | Tipo di installazione: montaggio in canale/montaggio in condotto 0/90°/180°/270°. Distanze minime autorizzate. | 200x200 mm ≤ VU120+MANF/BEN + griglia ≤ 1200x800 mm; 1000x1000. 200x200 mm ≤ VU120+NF/SF + griglia ≤ 1200x650 mm; 950x750 mm
- Geoflam ≥ 45 mm | EI 120 (ved hod i o) S 1500 AA multi | Spazio tra il canale e la serranda (≤ 80 mm) sigillato con kit materiale refrattario (per profondità ≥ 105 mm) | Tipo di installazione: montaggio in canale/montaggio in condotto 0/90°/180°/270°. Distanze minime autorizzate. | 200x200 mm ≤ VU120+MANF/BEN + griglia ≤ 1200x800 mm; 1000x1000. 200x200 mm ≤ VU120+NF/SF + griglia ≤ 1200x650 mm; 950x750 mm
- Geoflam Light ≥ 35 mm | EI 120 (ved hod i o) S 1500 AA multi | Spazio tra il canale e la serranda (≤ 80 mm) sigillato con kit materiale refrattario (per profondità ≥ 105 mm) | Tipo di installazione: montaggio in canale/montaggio in condotto 0/90°/180°/270°. Distanze minime autorizzate. | 200x200 mm ≤ VU120+MANF/BEN + griglia ≤ 1200x800 mm; 1000x1000. 200x200 mm ≤ VU120+NF/SF + griglia ≤ 1200x650 mm; 950x750 mm

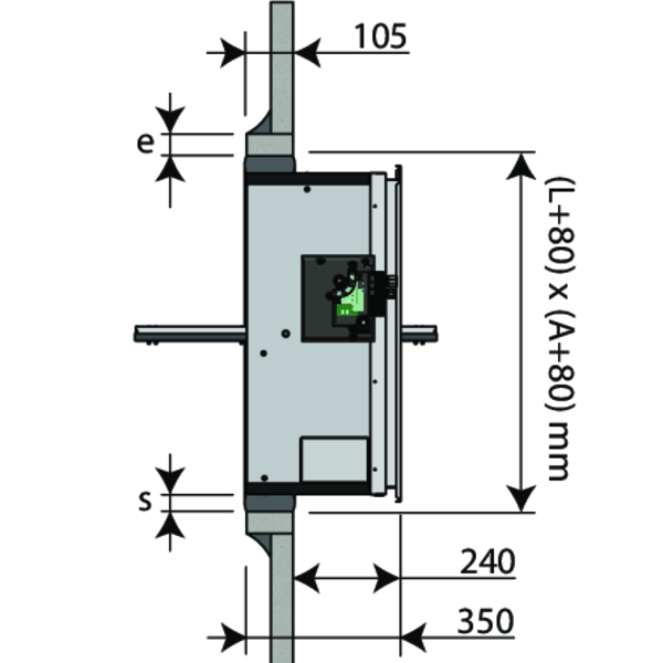
Realizzare un'apertura con dimensioni (Largh.+80) x (Alt.+80) mm.
Inserire nell'apertura un manicotto dello stesso tipo e spessore del canale di ventilazione (spessore "e") con profondità di almeno 105 mm.
Sigillare le giunzioni tra i montanti e gli elementi trasversali e tra il rivestimento e la parete con sigillante a base di fibre vegetali e gesso.
La sigillatura tra il corpo del meccanismo e il canale (S) deve essere completamente sigillato con gesso fibrorinforzato. Sostenere l'involucro o serrare la pala in posizione chiusa per evitare la deformazione dello stesso durante il processo di essiccazione del sigillante.
Fissare la griglia sulla flangia mediante colla di tipo Polyflex.
Controllare la mobilità della pala della serranda.
Eseguire una prova del meccanismo della serranda tagliafuoco.
Inserire nell'apertura un manicotto dello stesso tipo e spessore del canale di ventilazione (spessore "e") con profondità di almeno 105 mm.
Sigillare le giunzioni tra i montanti e gli elementi trasversali e tra il rivestimento e la parete con sigillante a base di fibre vegetali e gesso.
La sigillatura tra il corpo del meccanismo e il canale (S) deve essere completamente sigillato con gesso fibrorinforzato. Sostenere l'involucro o serrare la pala in posizione chiusa per evitare la deformazione dello stesso durante il processo di essiccazione del sigillante.
Fissare la griglia sulla flangia mediante colla di tipo Polyflex.
Controllare la mobilità della pala della serranda.
Eseguire una prova del meccanismo della serranda tagliafuoco.
Installazione in canali verticali e orizzontali GEOTEC
Il prodotto è stato testato e approvato in::
- Geotec ≥ 30 mm | EI 60 (ved hod i o) S 1500 AA multi | Spazio tra il canale e la serranda (≤ 80 mm) sigillato con kit materiale refrattario (per profondità ≥ 105 mm) | Tipo di installazione: montaggio in canale/montaggio in condotto 0/90°/180°/270°. Distanze minime autorizzate. | 200x200 mm ≤ VU120+MANF/BEN + griglia ≤ 1200x800 mm; 1000x1000. 200x200 mm ≤ VU120+NF/SF + griglia ≤ 1200x650 mm; 950x750 mm
- Geotec ≥ 45 mm | EI 120 (ved hod i o) S 1500 AA multi | Spazio tra il canale e la serranda (≤ 80 mm) sigillato con kit materiale refrattario (per profondità ≥ 105 mm) | Tipo di installazione: montaggio in canale/montaggio in condotto 0/90°/180°/270°. Distanze minime autorizzate. | 200x200 mm ≤ VU120+MANF/BEN + griglia ≤ 1200x800 mm; 1000x1000. 200x200 mm ≤ VU120+NF/SF + griglia ≤ 1200x650 mm; 950x750 mm

Realizzare un'apertura di dimensioni (L+80) x (H+80) mm (se si effettua la sigillatura con una miscela di gesso e fibra di sisal) o un'apertura di dimensioni (L+6) x (H+6) mm (se si effettua la sigillatura con colla e viti).
Inserire nell'apertura un manicotto dello stesso tipo e spessore del canale di ventilazione (spessore "e") con profondità di almeno 105 mm.
Sigillare le giunzioni tra i montanti e gli elementi trasversali e tra il rivestimento e la parete con sigillante a base di fibre vegetali e gesso oppure fissare il manicotto alla parete del canale con adesivo e viti Ø 5 x (2 x e) mm con incrementi di 100 mm.
Montare la serranda nell'apertura.
La sigillatura tra il corpo del meccanismo e il canale (S) deve essere completamente sigillato con gesso fibrorinforzato o con colla e viti GEOCOL. Sostenere l'involucro o serrare la pala in posizione chiusa per evitare la deformazione dello stesso durante il processo di essiccazione del sigillante.
Fissare la griglia sulla flangia mediante colla di tipo Polyflex.
Controllare la mobilità della pala della serranda.
Eseguire una prova del meccanismo della serranda tagliafuoco.
Inserire nell'apertura un manicotto dello stesso tipo e spessore del canale di ventilazione (spessore "e") con profondità di almeno 105 mm.
Sigillare le giunzioni tra i montanti e gli elementi trasversali e tra il rivestimento e la parete con sigillante a base di fibre vegetali e gesso oppure fissare il manicotto alla parete del canale con adesivo e viti Ø 5 x (2 x e) mm con incrementi di 100 mm.
Montare la serranda nell'apertura.
La sigillatura tra il corpo del meccanismo e il canale (S) deve essere completamente sigillato con gesso fibrorinforzato o con colla e viti GEOCOL. Sostenere l'involucro o serrare la pala in posizione chiusa per evitare la deformazione dello stesso durante il processo di essiccazione del sigillante.
Fissare la griglia sulla flangia mediante colla di tipo Polyflex.
Controllare la mobilità della pala della serranda.
Eseguire una prova del meccanismo della serranda tagliafuoco.
Installazione in canali verticali e orizzontali TECNIVER
Il prodotto è stato testato e approvato in::
- Tecniver ≥ 35 mm | EI 60 (ved hod i o) S 1500 AA multi | Spazio tra il canale e la serranda (≤ 6 mm) sigillato con kit materiale refrattario (per profondità ≥ 105 mm) | Tipo di installazione: montaggio in canale/montaggio in condotto 0/90°/180°/270°. Distanze minime autorizzate. | 200x200 mm ≤ VU120+MANF/BEN + griglia ≤ 1200x800 mm; 1000x1000. 200x200 mm ≤ VU120+NF/SF + griglia ≤ 1200x650 mm; 950x750 mm
- Tecniver ≥ 45 mm | EI 90 (ved hod i o) S 1500 AA multi | Spazio tra il canale e la serranda (≤ 6 mm) sigillato con kit materiale refrattario (per profondità ≥ 105 mm) | Tipo di installazione: montaggio in canale/montaggio in condotto 0/90°/180°/270°. Distanze minime autorizzate. | 200x200 mm ≤ VU120+MANF/BEN + griglia ≤ 1200x800 mm; 1000x1000. 200x200 mm ≤ VU120+NF/SF + griglia ≤ 1200x650 mm; 950x750 mm
- Tecniver ≥ 50 mm | EI 120 (ved hod i o) S 1500 AA multi | Spazio tra il canale e la serranda (≤ 6 mm) sigillato con kit materiale refrattario (per profondità ≥ 105 mm) | Tipo di installazione: montaggio in canale/montaggio in condotto 0/90°/180°/270°. Distanze minime autorizzate. | 200x200 mm ≤ VU120+MANF/BEN + griglia ≤ 1200x800 mm; 1000x1000. 200x200 mm ≤ VU120+NF/SF + griglia ≤ 1200x650 mm; 950x750 mm

Realizzare un'apertura con dimensioni (Largh.+A) x (Alt.+A) mm. A = 2 x spessore manicotto (e) + 6 mm.
Inserire nell'apertura un manicotto dello stesso tipo e spessore del canale di ventilazione (spessore "e") con profondità di almeno 105 mm.
Fissare il manicotto alla parete del canale.
Applicare la colla CF GLUE sui bordi dell'apertura, sui montanti e sugli elementi trasversali.
Posizionare la serranda nell'apertura e fissarla mediante 12 viti Ø5x60 (canale orizzontale) oppure 10 viti Ø5x60 (canale verticale).
Attenzione: assicurarsi che i bulloni non superino lo spessore del manicotto!
Il sigillante tra l'involucro e i canale (S) deve essere applicato con colla (tipo CF glue). Sostenere l'involucro o serrare la pala in posizione chiusa per evitare la deformazione dello stesso durante il processo di essiccazione del sigillante.
Fissare la griglia sulla flangia mediante colla di tipo Polyflex.
Controllare la mobilità della pala della serranda.
Eseguire una prova del meccanismo della serranda tagliafuoco.
Inserire nell'apertura un manicotto dello stesso tipo e spessore del canale di ventilazione (spessore "e") con profondità di almeno 105 mm.
Fissare il manicotto alla parete del canale.
Applicare la colla CF GLUE sui bordi dell'apertura, sui montanti e sugli elementi trasversali.
Posizionare la serranda nell'apertura e fissarla mediante 12 viti Ø5x60 (canale orizzontale) oppure 10 viti Ø5x60 (canale verticale).
Attenzione: assicurarsi che i bulloni non superino lo spessore del manicotto!
Il sigillante tra l'involucro e i canale (S) deve essere applicato con colla (tipo CF glue). Sostenere l'involucro o serrare la pala in posizione chiusa per evitare la deformazione dello stesso durante il processo di essiccazione del sigillante.
Fissare la griglia sulla flangia mediante colla di tipo Polyflex.
Controllare la mobilità della pala della serranda.
Eseguire una prova del meccanismo della serranda tagliafuoco.
Installazione in canali verticali e orizzontali GLASROC F V500
Il prodotto è stato testato e approvato in::
- Glasroc F V500 ≥ 35 mm | EI 60 (ved hod i o) S 1500 AA multi | Spazio tra il canale e la serranda (≤ 6 mm) sigillato con kit materiale refrattario (per profondità ≥ 105 mm) | Tipo di installazione: montaggio in canale/montaggio in condotto 0/90°/180°/270°. Distanze minime autorizzate. | 200x200 mm ≤ VU120+MANF/BEN + griglia ≤ 1200x800 mm; 1000x1000. 200x200 mm ≤ VU120+NF/SF + griglia ≤ 1200x650 mm; 950x750 mm
- Glasroc F V500 ≥ 50 mm | EI 120 (ved hod i o) S 1500 AA multi | Spazio tra il canale e la serranda (≤ 6 mm) sigillato con kit materiale refrattario (per profondità ≥ 105 mm) | Tipo di installazione: montaggio in canale/montaggio in condotto 0/90°/180°/270°. Distanze minime autorizzate. | 200x200 mm ≤ VU120+MANF/BEN + griglia ≤ 1200x800 mm; 1000x1000. 200x200 mm ≤ VU120+NF/SF + griglia ≤ 1200x650 mm; 950x750 mm

Realizzare un'apertura con dimensioni (Largh.+A) x (Alt.+A) mm. A = 2 x spessore manicotto (e) + 6 mm.
Inserire nell'apertura un manicotto dello stesso tipo e spessore del canale di ventilazione (spessore "e") con profondità di almeno 105 mm.
Fissare il manicotto alla parete del canale.
Applicare la colla GLASROC F V500 sui bordi dell'apertura, sui montanti e sugli elementi trasversali.
Posizionare la serranda nell'apertura e fissarla mediante 12 viti Ø5x60 (canale orizzontale) oppure 10 viti Ø5x60 (canale verticale).
Attenzione: assicurarsi che i bulloni non superino lo spessore del manicotto!
La sigillatura tra il corpo del meccanismo e il canale (S) deve essere applicato con colla (tipo Glasroc F V500). Sostenere l'involucro o serrare la pala in posizione chiusa per evitare la deformazione dello stesso durante il processo di essiccazione del sigillante.
Fissare la griglia sulla flangia mediante colla di tipo Polyflex.
Controllare la mobilità della pala della serranda.
Eseguire una prova del meccanismo della serranda tagliafuoco.
Inserire nell'apertura un manicotto dello stesso tipo e spessore del canale di ventilazione (spessore "e") con profondità di almeno 105 mm.
Fissare il manicotto alla parete del canale.
Applicare la colla GLASROC F V500 sui bordi dell'apertura, sui montanti e sugli elementi trasversali.
Posizionare la serranda nell'apertura e fissarla mediante 12 viti Ø5x60 (canale orizzontale) oppure 10 viti Ø5x60 (canale verticale).
Attenzione: assicurarsi che i bulloni non superino lo spessore del manicotto!
La sigillatura tra il corpo del meccanismo e il canale (S) deve essere applicato con colla (tipo Glasroc F V500). Sostenere l'involucro o serrare la pala in posizione chiusa per evitare la deformazione dello stesso durante il processo di essiccazione del sigillante.
Fissare la griglia sulla flangia mediante colla di tipo Polyflex.
Controllare la mobilità della pala della serranda.
Eseguire una prova del meccanismo della serranda tagliafuoco.
Installazione in canali verticali e orizzontali EXTHAMAT
Il prodotto è stato testato e approvato in::
- Exthamat ≥ 25 mm | EI 60 (ved hod i o) S 1500 AA multi | Spazio tra il canale e la serranda (≤ 80 mm) sigillato con kit materiale refrattario (per profondità ≥ 105 mm) | Tipo di installazione: montaggio in canale/montaggio in condotto 0/90°/180°/270°. Distanze minime autorizzate. | 200x200 mm ≤ VU120+MANF/BEN + griglia ≤ 1200x800 mm; 1000x1000. 200x200 mm ≤ VU120+NF/SF + griglia ≤ 1200x650 mm; 950x750 mm
- Exthamat ≥ 30 mm | EI 90 (ved hod i o) S 1500 AA multi | Spazio tra il canale e la serranda (≤ 80 mm) sigillato con kit materiale refrattario (per profondità ≥ 105 mm) | Tipo di installazione: montaggio in canale/montaggio in condotto 0/90°/180°/270°. Distanze minime autorizzate. | 200x200 mm ≤ VU120+MANF/BEN + griglia ≤ 1200x800 mm; 1000x1000. 200x200 mm ≤ VU120+NF/SF + griglia ≤ 1200x650 mm; 950x750 mm
- Exthamat ≥ 35 mm | EI 120 (ved hod i o) S 1500 AA multi | Spazio tra il canale e la serranda (≤ 80 mm) sigillato con kit materiale refrattario (per profondità ≥ 105 mm) | Tipo di installazione: montaggio in canale/montaggio in condotto 0/90°/180°/270°. Distanze minime autorizzate. | 200x200 mm ≤ VU120+MANF/BEN + griglia ≤ 1200x800 mm; 1000x1000. 200x200 mm ≤ VU120+NF/SF + griglia ≤ 1200x650 mm; 950x750 mm

Realizzare un'apertura con dimensioni (Largh.+80) x (Alt.+80) mm.
Inserire nell'apertura un manicotto dello stesso tipo e spessore del canale di ventilazione (spessore "e") con profondità di almeno 105 mm.
Sigillare le giunzioni tra i montanti e gli elementi trasversali e tra il rivestimento e la parete con sigillante a base di fibre vegetali e gesso.
La sigillatura tra il corpo del meccanismo e il canale (S) deve essere completamente sigillato con gesso fibrorinforzato. Sostenere l'involucro o serrare la pala in posizione chiusa per evitare la deformazione dello stesso durante il processo di essiccazione del sigillante.
Fissare la griglia sulla flangia mediante colla di tipo Polyflex.
Controllare la mobilità della pala della serranda.
Eseguire una prova del meccanismo della serranda tagliafuoco.
Inserire nell'apertura un manicotto dello stesso tipo e spessore del canale di ventilazione (spessore "e") con profondità di almeno 105 mm.
Sigillare le giunzioni tra i montanti e gli elementi trasversali e tra il rivestimento e la parete con sigillante a base di fibre vegetali e gesso.
La sigillatura tra il corpo del meccanismo e il canale (S) deve essere completamente sigillato con gesso fibrorinforzato. Sostenere l'involucro o serrare la pala in posizione chiusa per evitare la deformazione dello stesso durante il processo di essiccazione del sigillante.
Fissare la griglia sulla flangia mediante colla di tipo Polyflex.
Controllare la mobilità della pala della serranda.
Eseguire una prova del meccanismo della serranda tagliafuoco.
Installazione in canali verticali e orizzontali DESENFIRE (HD/THD/STR)
Il prodotto è stato testato e approvato in::
- Desenfire HD ≥ 25 mm | EI 60 (ved hod i o) S 1500 AA multi | Spazio tra il canale e la serranda (≤ 80 mm) sigillato con kit materiale refrattario (per profondità ≥ 105 mm) | Tipo di installazione: montaggio in canale/montaggio in condotto 0/90°/180°/270°. Distanze minime autorizzate. | 200x200 mm ≤ VU120+MANF/BEN + griglia ≤ 1200x800 mm; 1000x1000. 200x200 mm ≤ VU120+NF/SF + griglia ≤ 1200x650 mm; 950x750 mm
- Desenfire HD ≥ 35 mm | EI 120 (ved hod i o) S 1500 AA multi | Spazio tra il canale e la serranda (≤ 80 mm) sigillato con kit materiale refrattario (per profondità ≥ 105 mm) | Tipo di installazione: montaggio in canale/montaggio in condotto 0/90°/180°/270°. Distanze minime autorizzate. | 200x200 mm ≤ VU120+MANF/BEN + griglia ≤ 1200x800 mm; 1000x1000. 200x200 mm ≤ VU120+NF/SF + griglia ≤ 1200x650 mm; 950x750 mm
- Desenfire STR ≥ 25 mm | EI 120 (ved hod i o) S 1500 AA multi | Spazio tra il canale e la serranda (≤ 80 mm) sigillato con kit materiale refrattario (per profondità ≥ 105 mm) | Tipo di installazione: montaggio in canale/montaggio in condotto 0/90°/180°/270°. Distanze minime autorizzate. | 200x200 mm ≤ VU120+MANF/BEN + griglia ≤ 1200x800 mm; 1000x1000. 200x200 mm ≤ VU120+NF/SF + griglia ≤ 1200x650 mm; 950x750 mm

Realizzare un'apertura con dimensioni (Largh.+80) x (Alt.+80) mm.
Inserire nell'apertura un manicotto dello stesso tipo e spessore del canale di ventilazione (spessore "e") con profondità di almeno 105 mm.
Sigillare le giunzioni tra i montanti e gli elementi trasversali e tra il rivestimento e la parete con sigillante a base di fibre vegetali e gesso.
La sigillatura tra il corpo del meccanismo e il canale (S) deve essere completamente sigillato con gesso fibrorinforzato. Sostenere l'involucro o serrare la pala in posizione chiusa per evitare la deformazione dello stesso durante il processo di essiccazione del sigillante.
Fissare la griglia sulla flangia mediante colla di tipo Polyflex.
Controllare la mobilità della pala della serranda.
Eseguire una prova del meccanismo della serranda tagliafuoco.
Inserire nell'apertura un manicotto dello stesso tipo e spessore del canale di ventilazione (spessore "e") con profondità di almeno 105 mm.
Sigillare le giunzioni tra i montanti e gli elementi trasversali e tra il rivestimento e la parete con sigillante a base di fibre vegetali e gesso.
La sigillatura tra il corpo del meccanismo e il canale (S) deve essere completamente sigillato con gesso fibrorinforzato. Sostenere l'involucro o serrare la pala in posizione chiusa per evitare la deformazione dello stesso durante il processo di essiccazione del sigillante.
Fissare la griglia sulla flangia mediante colla di tipo Polyflex.
Controllare la mobilità della pala della serranda.
Eseguire una prova del meccanismo della serranda tagliafuoco.
Installazione in condotto verticale in calcestruzzo
Il prodotto è stato testato e approvato in::
- Muratura, blocchi di cemento, cemento ≥ 100 mm | EI 120 (ved i o) S 1500 AA multi | Malta | Tipo di installazione: montaggio in canale/montaggio in condotto 0/90°/180°/270°. Distanze minime autorizzate. | 200x200 mm ≤ VU120+MANF/BEN + griglia ≤ 1200x800 mm; 1000x1000. 200x200 mm ≤ VU120+NF/SF + griglia ≤ 1200x650 mm; 950x750 mm
- Calcestruzzo armato (≥ 2150 kg/m³) ≥ 70 mm | EI 90 (ved i o) S 1500 AA multi | Malta | Tipo di installazione: montaggio in canale/montaggio in condotto 0/90°/180°/270°. Distanze minime autorizzate. | 200x200 mm ≤ VU120+MANF/BEN + griglia ≤ 1200x800 mm; 1000x1000. 200x200 mm ≤ VU120+NF/SF + griglia ≤ 1200x650 mm; 950x750 mm

Realizzare un'apertura con dimensioni (Largh.+20) x (Alt.+20) mm fino a (Largh.+100) x (Alt.+100) mm.
Montare la serranda nell'apertura. La giunzione tra la serranda e il condotto (S) deve essere riempita per tutta la larghezza del condotto con malta cementizia standard.
Sostenere l'involucro o bloccare la pala della serranda in posizione chiusa per evitare la deformazione dell'involucro durante il processo di essiccazione del materiale utilizzato per la sigillatura.
Fissare la griglia sulla flangia mediante colla di tipo Polyflex.
Controllare la mobilità della pala della serranda.
Eseguire una prova del meccanismo della serranda tagliafuoco.
Montare la serranda nell'apertura. La giunzione tra la serranda e il condotto (S) deve essere riempita per tutta la larghezza del condotto con malta cementizia standard.
Sostenere l'involucro o bloccare la pala della serranda in posizione chiusa per evitare la deformazione dell'involucro durante il processo di essiccazione del materiale utilizzato per la sigillatura.
Fissare la griglia sulla flangia mediante colla di tipo Polyflex.
Controllare la mobilità della pala della serranda.
Eseguire una prova del meccanismo della serranda tagliafuoco.
Installazione a distanze minime

Le serrande possono essere installate a una distanza minima l’una sull’altra o fianco a fianco, se sono montate in manicotti separati nel materiale dell' canale con la resistenza al fuoco richiesta. Si consiglia di non superare una 2 x 4 configurazione (A x L).

Nel caso in cui varie serrande di controllo del fumo siano montate a distanza minima, i punti di supporto e di rinforzo del canale devono essere adattati in proporzione all'aumento di peso. L'installazione del canale deve sempre essere effettuata in conformità con il rapporto di classificazione del produttore del canale.
Note generali
- L'installazione deve essere conforme al manuale di installazionee al rapporto di classificazione.
- L'installazione del canale per il controllo del fumo deve essere conforme al rapporto di classificazione fornito dal produttore.
- Orientamento dell'asse: vedere la dichiarazione di prestazione.
- Evitare di ostruire condotti di evacuazione del fumo adiacenti.
- Verificare se la pala può muoversi liberamente.
- Le serrande tagliafumo Rf-t possono essere applicate a canali testati secondo EN 1366-8 ed EN 1366-9 a seconda delle necessità.
- Attenzione: durante il montaggio, il prodotto deve essere maneggiato con cura e restare protetto da qualsiasi prodotto sigillante.
- Attenzione: prima di mettere in funzione l'impianto, eliminare tutta la polvere e lo sporco.
- Attenzione: tenere conto del gioco della pala all'interno del canale di evacuazione del fumo.